If you have an invention, one of the first things you need to know is whether it’s patentable. In order for your invention to be patented, it must meet certain patentability requirements. But what are those requirements? And how do you know if your invention meets them?
The term patentable refers to the ability of an invention or process to meet the criteria for a valid patent. A patent is a form of intangible personal property that is granted by the government which provided the patent owner the right to exclude others from making, using, offering to sell, selling or importing a patent invention into the United States for its defined term. It is important to remember that a U.S. patent only provides protection within the U.S. and its territories. Should you wish to seek protection outside the U.S. you will need to file a patent application in each country or region where you seek protection.
This comprehensive guide will discuss what is patentable, what type of patent is best for your product, how to apply for a patent, and more.
What is Patentable?
The U.S. Patent and Trademark Office (USPTO) requires certain criteria for an invention to be eligible for patent protection. An invention can only be considered patent-eligible if it is new, non-obvious, and useful.
Some examples of inventions that may qualify for a patent are:
Simple or complex machines
Machine manufacture or composition from raw materials
Steps in a process chain, including computer programs
Material compositions made of living organisms, food, or chemicals
Some examples of inventions that would NOT qualify for a patent are:
Abstract ideas
Natural Phenomena
Discovery, scientific theory, or mathematical methods
What are the Patent Requirements
The basic requirements for obtaining a utility patent are:
The Invention Must Be New
To be granted a patent, your invention must not have been previously offered to the public, described in written or published material, or patented. It is advisable to consult a patent attorney or agent about doing a prior art search where they will review the embodiments of your disclosure and search through patents, inventions, and published papers in your field to see whether your innovation is truly novel. This process is known as “prior art search” or sometimes referred to as a “patentability search.”
You can also conduct a “do-it-yourself” prior art search by using one of USPTO search tools including the Patent Public Search web app, Global Dossier, the Public Search Facility in Alexandria, VA. In addition, the USPTO offers a free step-by-step guide on conducting a patent search which includes a helpful tutorial-type video format.
The Invention Must Be Non-obvious
This requirement is entirely subjective, it is by far the most ambiguous to determine. When trying to decide if your invention can be considered non-obvious to “one reasonabley skilled in the art”, the U.S. Patent and Trademark Office will consider how easy it would be for a person with ordinary skill in the corresponding field to recreate a similar version of your idea.
The Invention Must Be Useful
The last requirement for patentability is that your invention must be useful. To be considered useful, an invention must perform the function for which it was designed.
It is important to remember that simply being novel and non-obvious alone is not enough to qualify your innovation for a patent. The fundamental rule is that your invention must also serve its intended purpose and have utility. This minimal constitutional threshold of “usefulness” can be traced back to the Article I Section 8, Clause 8 of the U.S. Constitution which recite “Congress shall promote the progress of science and useful arts, by securing for a limited time to authors or inventors the exclusive right to their respective writings and discoveries.”
The utility requirement, also known as usefulness, is one of the key requirements for patentability and most difficult to understand as what may considered “useful” for one inventor may be different for another giving rise to a variety of issues such as what constitutes utility, how much utility is required, and whether your claimed invention fulfills this standard.
The U.S. Patent and Trademark Office has provided guidelines for determining compliance with the utility requirement. According to the standards, the utilities must be:
Credible: For an invention to be credible, it must either have logical and factual support behind its usefulness or be accepted by someone with skill in the field as currently being useful for the claimed purpose.
Specific: The utility must be specific to the invention claimed; it cannot be a general utility that could apply to many different inventions.
Substantial: An invention can only be called substantially useful if it has a clear, defined real-world use. If further research is needed to identify or confirm a use for the invention in the context of the real world, then that utility cannot be considered substantial.
Items that would not be considered “useful” or patentable subject matter include abstract ideas, natural discoveries, and natural phenomena.
To learn more about patents, you can download and read any of our guides and resources on various patent-related topics.
Who Owns the Rights in a Patent?
Typically, the named inventor who are listed on the patent application or Application Data Sheet on the rights to any granted patent. However, in the instance of an inventor who invents something while working for a company, there may be a question about who owns the patent rights or a patent assignment obligation transferring ownership rights and interest to the company.
If an employee signs a contract that assigns their employer the patent rights to inventions they create, any patented subject matter will transfer from the inventor to the named assignee. Similarly, if an individual is hired specifically to create something and has executed a “work for Hire” Agreement, the rights will be transferred to the assignee. Contracts containing such assignments provisions are usually written and agreed upon before the employee is hired or the contractor is retained.
In most situations, however, the rights to an invention will remain with the named inventors on the Application Data Sheet so long as they can prove they meet legal definition of an inventor as defined in under Section 2109 of the Manual of Patent Examining Procedures (MPEP). Please remember that if your invention utilizes any company trade secrets or similar procedures that may be found in your current job function or you utilize company resources during its conception, your company may have a claim to the invention. If you have questions on who may own your patent rights, seek legal counsel to review the terms of your applicable agreement.
Types of U.S. Patents
The three types of patents issued by the USPTO include utility patents, design patents, and plant patents. Utility patents, however, also offer an additional route in first applying with a provisional patent application, which will be discussed in more detail below.
Although each patent type protects a different type or aspect of your invention, and one invention may be protected by multiple patent applications. For example, a new device medical device may have a utility patent protecting its functional and design patent protecting its ornamental appearance.
Provisional Utility Patents
A provisional patent application is an effective placeholder for 12-months before a non-provisional patent application has to be filed. You can describe and detail your invention and its elements without the formal requirements of a non-provisional patent application. Later, when you convert and file a non-provisional (regular) patent application, you can claim the benefit of the earlier filing date of the provisional patent application.
The content of the non-provisional patent application that is covered by the provisional application receives the benefit of the earlier filing date. You can learn more about provisional patent applications by clicking here.
It is important to note that provisional patent application will not mature into an issued unless properly converted into a non-provisional patent application within the 12-month statutory term.
While the USPTO does allow an applicant a two month grace period to file a Petition to Restore Priority, you will forfeit any right and have to file a new application if this window is missed.
Non-Provisional Utility Patents
A non-provisional patent application is a type of application that protects novel, non-obvious, and useful products, processes, machines, and devices and provides 20 years of protection from your filing date.
Before filing your non-provisional patent application, it’s recommended you conduct a Prior Art Search to determine the patentability of your invention and help identify all “novel” features and functionality that will be the scope of your claims. If patentable, ensure that you have clearly identified the “point of novelty” in your invention and only file when you have a finalized invention.
Please keep in mind that new and useful improvement to existing processes, compositions of matter, machines, etc. may be considered patent-eligible and protected with a non-provisional patent application.
Design Patents
A design patent protects the ornamental and non-functional appearance of your invention for a term of 15 years from the issue date. Design patents are advantageous as compared to non-provisional utility patents for a number of reasons including a faster prosecution time, higher allowance rates, and relatively inexpensive costs. This cost-effective strategy allows companies to protect a variety product for a fraction of the cost of a non-provisional utility application.
Plant Patents
A plant patent is a type of utility patent that can be issued for new and asexually reproduced plants. To qualify for a plant patent, the plant must not be a tuber propagated one (i.e., an Irish potato), it must not be found in an uncultivated condition, and it must be able to be reproduced asexually.
Patent Application Process
Step 1: File a Patent Application
Provided that you have already conducted a “prior art” or “patentability” search and have a good understanding of the type of patent application and scope of claim protection for your invention, you can now consider filing a patent application.
The first step is to prepare and file a patent application with the USPTO by mailing your application to the office or electronically filing online through the USPTO’s Patent Center. While online with the Patent Center you will include all inventor names, application title, and upload the application, drawing figures, and appropriate filing documents.
Each type of application has unique requirements and filing fees which can be found at www.U.S. Patent and Trademark Office.gov.
Step 2: Wait for a Response
Once your application is filed you will immediately receive your electronic filing receipt containing your application number and applicable information. However, you will not likely receive a first action from the USPTO for approximately 14-19 months unless your file a Track One Prioritized Examination or a Petition to Make Special.
Currently, the USPTO’s average pendency time for a new application filed in the fall of 2022 is approximately 19.6 months and make fluctuate based on the technology or assigned art unit. You can always ask your attorney of record or U.S. Patent Application Assistance Unit for a “first action prediction letter” to better understand your application’s estimated timeline.
Step 3: Respond to Rejections
If the patent office does receive an Office Action, you will have to file an Amendment within three months (and may be extended an additional three months by requesting an Extension of time to respond and paying the corresponding USPTO fees).
The Office Action Amendment might be as simple as fixing minor claim language or much more complex requiring legal research of the cited references and formulating a succinct response to traverse the rejections presented by the Examiner.
If an Office Action is received, it is advised to seek professional help in formulating a response from a patent firm with experience in office action prosecution.
Step 4: Pay Issue Fees
Once your application is approved you will receive a Notice of Allowance and the USPTO will require an issue fee to be paid within a defined period found on the first page of your Notice of Allowance in order for your patent to be issued.
After paying an issue fee, a patent grant should be published approximately four weeks later, and you should receive your patent certificate from the USPTO printing department in another 2-3 months. Please note with utility patents, maintenance fees must be paid every 3.5, 7.5, and 11.5 years after the invention is granted for utility patents.
Patent Statistics
According to the latest data from the U.S. Patent and Trademark Office, a total of 646,244 patent applications were filed in 2020. Out of these, 388,900 were granted– roughly 60%.
Here are some more patent statistics from the World Intellectual Property Organization that you might find interesting:
Over 84% of all patents filed in 2019 were in China, the United States, Japan, the Republic of Korea, and the European Patent Office
More than 40% of the worldwide total was recorded by China

Inventors from China and the Republic of Korea applied for patents most frequently in the field of digital communication, whereas those from the United States tended to file the most in computer technology,
Japan’s top technological specialty was electrical machinery, while Germany’s was transport.

Huawei Technology of China remained the most active filer of patents in 2019
Mitsubishi Electric of Japan was second, Samsung Electronics from the Republic of Korea was third, Qualcomm from the United States came fourth, and Oppo Mobile Telecommunications from China rounded out the top ten users
Seven of the top ten users are located in Northeast Asia

Examples of Patentable Inventions
As for real-world inventions, let’s take a look at some of the most groundbreaking inventions that shaped modern technology that you use every day:
iPhone: U.S. Pat. No. 11/468,749 – Device, Methods, and Graphical User Interface for Providing Haptic Feedback

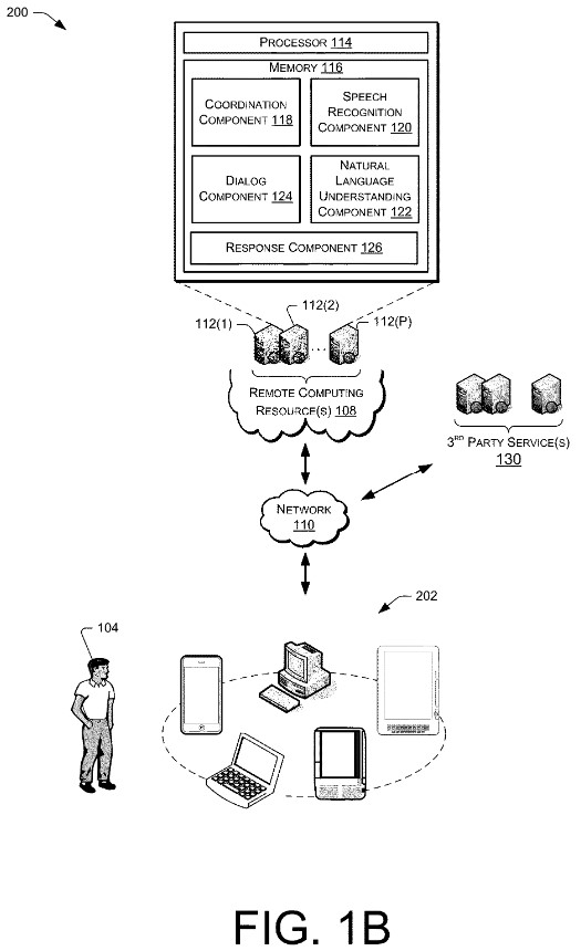
Amazon Alexa: US. Pat. No. 9/424,840: Speech Recognition Platforms

Apple Watch: U.S. Pat. No. 11/4468197: Configuring Context-based Restrictions for a Computing Device

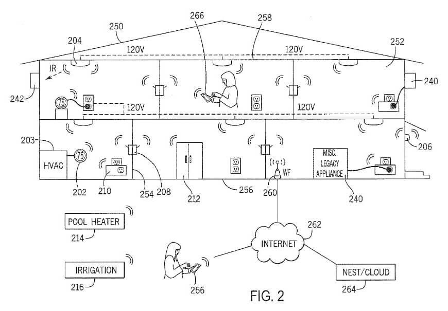
Google Nest: U.S. Pat. No. 9/819,638: Alarm Profile for a Fabric Network
Amazon Echo: U.S. Pat. No. 9/786,294: Visual Indicati
Speak with an Experienced Patent Attorney
If you’re thinking about filing a patent application, it is important to speak with an experienced patent attorney. At The SATCOV LAW GROUP, we offer a team of experienced attorneys and agents who can help guide you through the process for a transparent fixed fee without the hassle of billable hours. Schedule a free consultation today, or try our Intelligent IP Quiz to see if your invention is eligible for a patent.




